当前位置:首页>技术应用

压铸模具的浇注及排溢系统设计

董淑婧 发表于2024/7/15 9:34:56 发动机前盖浇注系统排溢系统
分享:

原标题:高品质产品!汽车发动机前盖压铸模浇注系统及排溢系统设计

压铸的浇注系统决定了金属液的流向、速度以及填充时间,同时对调节和控制压力传导、模具温度起到一定的作用,是决定压铸件品质的关键因素。排溢系统包括溢流槽和排气道,是将压铸过程中气体、冷料、污料排出的通道。在压铸模设计过程中,常常将浇注系统和排溢系统做为一个整体来综合考虑。本研究以发动机前盖压铸模为例,介绍其浇注系统和排溢系统设计过程及设计方法,对汽车发动机前盖形状、结构特点及技术要求进行分析,设计了该产品浇注系统和排溢系统,并采用计算方法设计出内浇口、横浇道、排溢槽的尺寸。在理论设计的基础上,使用AnyCasting软件对发动机前盖产品的压铸过程进行模拟,经过实际试模后对产品品质进行检查,对排溢槽尺寸进行微调,为同类产品开发提供参考。

图文结果

图1为某汽车公司开发的前盖,材质为ADC12合金,执行JIS-H5302-2006标准,其流动性好,具有良好的力学性能。铸件最大外轮廓尺寸为603mm×320mm×49mm,一般壁厚为2.0mm,投影面积为1180c㎡,单件质量为1.72kg。腔体密封性要求在100kPa下,允许泄漏量最大为10mL/min。前盖属于扁平薄壁件,铸件尺寸大,中间有3处大的通孔,不利于金属液充填,极易出现流痕、冷隔、变形等铸造缺陷。需要通过合理设计浇注系统、排溢系统并调整压铸工艺参数,解决铸件可能产生的铸造缺陷。

依据前盖的结构特点,选择侧浇道进行充填,侧浇道布置在分型面上铸件的长边方向,可以保证足够的内浇口截面积,并且可以缩短充填流程和充填时间。由于该前盖侧向有多个螺栓安装孔,为避免浇道充填时冲击型芯,侧向浇道设计成分支浇道布置在铸件两个相邻的螺栓安装孔中间,浇注系统结构见图2。其具有以下优势:金属液充填流程短,可以快速充满型腔,减少热量损失;分支横浇道具有一定的长度,可以保证金属液的流向及顺序充填;避免金属液冲击型芯而引起的紊流和粘料;方便布置溢流槽和排气道,有利于排气;便于去除,并方便后序自动切边,防止铸件变形;有利于均衡模具温度。

图1 前盖

图2 浇注系统及排溢系统
1.直浇道 2.横浇道 3.内浇口
4.溢流槽 5.排气道 6.铸件

图3 不同壁厚铸件充填速度与充填长度的关系

图4 内浇口的厚度及形状

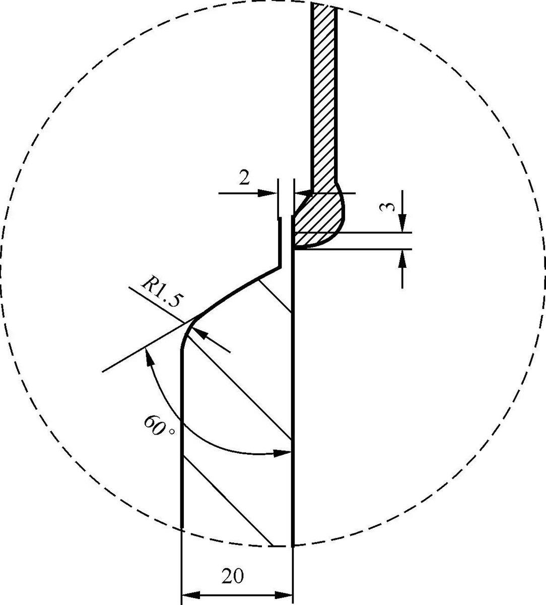
根据铸件的投影面积和压射所需的压射比压计算出的锁模力,确定此前盖使用20000kN压铸机生产,选用熔杯直径为ϕ110mm。直浇道的厚度即压射后料饼的厚度,直接关系到增压压力的有效传递,如果料饼过薄,压力传递不充分,铸件的内部品质会降低;如果料饼过厚,浪费材料而且因冷却不够常出现爆料,严重影响生产节拍。直浇道的厚度一般取熔杯直径的25%,前盖的直浇道的厚度取30mm 。横浇道作用是将金属液从直浇道顺畅地引入内浇口,其形状、尺寸取决于内浇口的位置、形状和方向。前盖采用分支浇道,为防止金属液在拐角处出现分散,流道的截面积要有规律地减小并增大圆角半径。横浇道的结构设计见图2,横浇道的截面积取3~4倍内浇口截面积,截面形状采用梯形,与内浇口采用60°斜面R15mm的圆角过渡。

排溢系统是金属液充填型腔的过程中排出空气、容纳残留涂料及最初充填冷合金的通道,对铸件的品质影响很大。排溢系统主要包括溢流槽和排气槽,在溢流槽和排气槽的设计中要充分考虑浇道的位置、结构形式及金属液的导入方向。设计溢流槽的位置时,首先要考虑将溢流槽放置于金属液在型腔的充填末端及多股金属液汇流的位置。根据前盖的结构特点并结合分支浇道的位置,将溢流槽设计在前盖浇口对面的最后填充的位置,分区域设计7处溢流槽。同时考虑铸件内部有两处大的通孔,此处的型腔结构会阻碍金属液的流动并改变金属液的流向,造成局部区域金属液汇流,严重时会出现充填不完整,因此在铸件中心两个大孔处设计溢流槽,有利于金属液的填充及冷却过程中补缩。

表1 溢流槽容积推荐值

表2 压铸工艺参数

图5  模拟分析结果

图6  试模后的改善方案

结论

根据前盖的结构特点,应用数值模拟,确定前盖采用侧向分支浇道进行充填,侧浇道布置在分型面上铸件的长边方向,排溢系统设计在金属液的充填末端及多股金属液汇流的位置,整个充填过程平稳,无紊流及裹气。浇注系统的设计顺序为先设计内浇口再设计直浇道和横浇道,之后根据浇道和铸件结构进行溢流系统的设计,经过理论计算、模拟分析、试模调整,最终确定的浇注系统和排溢系统具体位置、形状及尺寸。经批量生产验证,产品品质高、模具运行稳定可靠。

作者
董淑婧 侯丽彬
大连科技学院机械工程学院
本文来自:《特种铸造及有色合金》杂志,《压铸周刊》战略合作伙伴

回页顶部